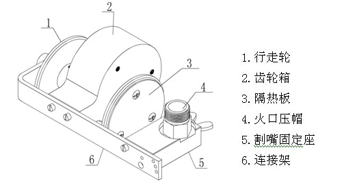
“HK-66”手拉式行走器是基于實現便攜式切割和切割自動化的新奇設想而研發的。本機只是手工切割操作的行走輔助機具,可配合G02-100等壓式割炬使用。以切割直線為主,調整割炬座架可V形坡口切割。本機機身采用優質黃銅精密壓鑄而成,結構緊湊、經久耐用、體積小攜帶方便,使用靈活,可實現各種場合的手工切割。減速系統由高精度齒輪箱體組成;行走機構由凸輪限速保持行走均勻;本機采用兩輪行走,保證切割垂直、穩定。

技術規格
|
1.重量(主體部件) |
:4千克 |
|
2.外形包裝尺寸 |
:220毫米×200毫米×120毫米 |
|
3.驅動方式 |
:齒輪驅動 |
|
4.速度控制 |
:定速 |
裝箱單
|
1.標準包裝 |
|
|
1)主體部件 |
1臺 |
|
2) 說明書,合格證 |
各1份 |