我公司的多功能角焊小車功能強大,用途廣泛,能夠使不熟練的操作人員以簡易的方式順利地進行角焊(沿底部鋼板運行型),其主要特性如下:體積小,重心低,制作輕巧,便于攜帶。高強磁性磁鐵明顯增強了仿形操作的可靠性并增大了牽引力,保證操作運行平穩。在增強仿形操作可靠性和自動停止功能的基礎上可同時操作多臺裝置。方向轉換開關能夠實現右向/左向運行。導向裝置是螺釘鎖定型,導向輪高度可以按三種方式改變。新的限位開關系統,使限位定位塊的高度限制范圍大大放寬。上述特性在“焊接有效性”和“由不熟練的操作人員進行操作”方面表現得尤為出色。

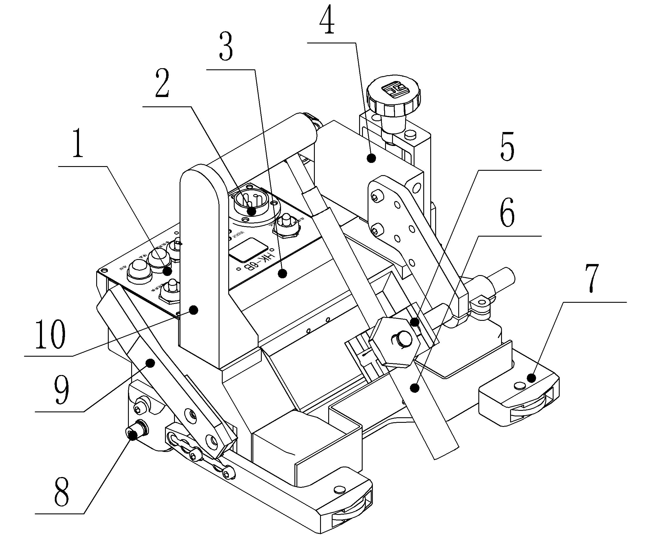
1) 焊炬調整滑塊
起弧點可以利用此裝置進行上/下、前/后的調整,行程各有45mm。
2) 焊炬鎖緊裝置
當安裝焊炬時,必須確保其鎖緊。
3) 導輪及導輪臂
導輪應緊靠立板,有三種位置選擇
4) 自動停止開關
機器兩端都設有限位開關,即焊接停止開關。
5) 操作面板(后續有詳細說明)
6) 焊炬
7) 金屬插座
此插座為外接電纜插座
此電纜負責小車與送絲機的連接及電力供應。(電纜的另一端有兩個分支,一個接送絲機,另一個接電源。)
5) 驅動輪
6) 焊炬角度調節軸
松開該螺絲,可調整焊槍的角度(40~55°)
7) 提攜手柄
8) 磁控手柄
磁鐵的吸合由此手柄控制,如圖3所示,往上為離,往下為合。
技術規格
|
機器重量 |
6.9 Kg |
|
驅動方法 |
四橡膠輪驅動 |
|
牽引力 |
16 Kg |
|
焊接速度 |
150~1000 (mm/min) |
|
跟蹤方式 |
導輪型 |
|
導輪高度 |
有三種選擇方式 |
|
焊炬調節范圍 |
水平角:40°~55° 上下運動:45 mm 前后運動:45 mm |
|
焊炬 |
彎槍或直槍 |
|
焊炬鎖緊裝置 |
適用于彎槍或直槍 |
|
未焊接長度 |
前端:127 mm 尾部:127 mm |
|
限位停止功能 |
前后兩端限位器 |
|
外形尺寸(長x寬x高 mm) |
260x260x264 |
裝箱清單
將裝置小心地從包裝箱中取出。首先,檢查各部件以確認其完整。各包裝組件中包含下列零部件:
|
1.主體部件 |
1套 |
|
2. 控制導線 |
1條 |
|
3.專用焊炬(選配件) |
(用戶另購) |
|
4. 保險(1A) |
1支 |
|
5. 六角扳手(M5/M6) |
各1把 |
|
6. 操作使用說明書 |
1份 |
|
7. 產品合格證 |
1份 |
|
8. 保修單 |
1份 |